hga025怎么登录 _李亚鹏否认丽江项目失败,称开盘就是丽江销售第一,两年卖了70个亿
时间:2025-06-03 阅读:8439 评论:152
皇冠欧冠联赛


李亚鹏持股公司又遭强执hga025怎么登录 !
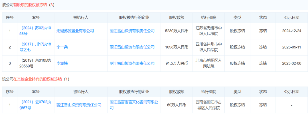
5月27日消息,天眼查显示,丽江雪山投资有限责任公司新增3条被执行人信息,被执行总金额约244万元,执行法院均为丽江市古城区人民法院hga025怎么登录 。

展开全文
丽江雪山投资有限责任公司成立于2008年11月,法定代表人为李国栋,注册资本约2.6亿人民币,由阳光壹佰置业集团有限公司、李亚鹏等共同持股,其中,李亚鹏持股约27.8%hga025怎么登录 。
风险信息显示,上述公司已被限制高消费,并存在多条股权冻结信息,还曾因该拖欠税款而被列入欠税公告名单hga025怎么登录 。


李亚鹏目前担任两家企业的法定代表人,和6家公司的股东(一家已注销)hga025怎么登录 。

除丽江雪山投资有限责任公司外,李亚鹏还有多条股权冻结等周边风险信息hga025怎么登录 。李亚鹏已于2023年10月被北京市朝阳区人民法院限制高消费。

李亚鹏,毕业于中央戏剧学院表演系,男演员、商人hga025怎么登录 。其代表作品有《青春作证》《将爱情进行到底》《笑傲江湖》等影视作品。2014年,李亚鹏宣布退出娱乐圈。
每日经济新闻综合公开消息
每日经济新闻
猜你喜欢
- 2026-03-11足球信用盘下载 _(体育)冬残奥会——轮椅冰壶混合团体循环赛:中国队不敌加拿大队
- 2026-03-10外围足球代理怎么申请 _伊朗:使用超重型导弹打击美以,以此向新任最高领袖致敬
- 2026-03-07足球平台出租网 _邵子钦进球后比心庆祝,王霜灵魂拷问:小邵这心比给谁的呀?
- 2026-03-05足球平台出租 _开战4天,中国卫星看到的美以损失情况如何?美国还能坚持多久?
- 2026-03-04足球盘口代理 _内贾德亲信:他一切安好,遇害消息不实,本人住所距被击中建筑约100米,伊朗高官称不与美国谈判
- 2026-03-03足球信用网平台 _女子带1米长巨大豆荚坐飞机回东北引围观,本人称已跨越4000公里落地,机场客服:可随身携带
- 2026-03-02世界杯正规买球app _伊朗放开手脚,首次使用子母弹头!以色列紧急向民众发出警示
- 2026-03-01世界杯足球代理 _玻利维亚一运钞运输机坠毁已致15死,大量钞票散落,民众进飞机残骸捡钞票被驱散
- 2026-03-01世界杯足球代理 _西安街头一新能源车凌晨突发爆响,挡风玻璃震裂掉落,车企客服称车内有不安全物品,警方介入调查,网传部分信息与实际不符
- 2026-02-20皇冠ag mos011 _深夜!伊朗突发,特朗普宣布!
- 2026-02-06皇冠代理网 _闪评|俄美乌新一轮会谈举行 欧盟重金援乌传递哪些信号?
- 2026-02-05皇冠信用网代理出租_普京一声令下,俄军6个小时大轰炸,基辅电力彻底瘫痪,乌克兰或后悔撕毁停战协议



网友评论